西瑪電機分享交流電機的工作原理
內容簡介:西安西瑪交流電機依據電磁感應定律,將交流電能轉換為機械能, 因結構簡單、運行可靠、成本低、效率高等優點,在工業、交通運輸、家用電器、航空航天等領域廣泛應用。
西瑪電機分享交流電機的工作原理。
交流電機是一種依據電磁感應定律,將交流電能轉換為機械能的裝置 ,在現代工業、交通運輸、家用電器等眾多領域廣泛應用。西安西瑪電機有限公司生產的交流電機主要分為異步電機(感應電機)和同步電機。

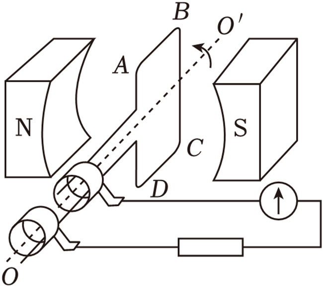
圖為交流電機的工作原理示意圖
當三相交流電流通入異步電機的定子繞組時,由于三相電流在時間上彼此相差 120° 電角度,且三相定子繞組在空間上也彼此相差 120° 電角度分布。
根據安培定律和電磁感應定律,三相電流會在定子鐵芯中產生一個合成的旋轉磁場。這個磁場的轉速(同步轉速n1)由電源頻率f和電機的磁極對數p決定,計算公式為n1=60f/p 。例如,我國電網頻率f=50HZ,若電機磁極對數p=1,則同步轉速n1=3000r/min;若p=2,則n1=1500r/min 。
轉子導體切割磁感線產生感應電動勢和電流
旋轉磁場以同步轉速旋轉時,轉子導體與旋轉磁場之間存在相對運動,相當于轉子導體切割了磁感線。
根據電磁感應定律,轉子導體中就會產生感應電動勢。由于西瑪電機轉子繞組是閉合的,在感應電動勢的作用下,轉子導體中就會產生感應電流。
轉子載流導體在磁場中受力產生電磁轉矩
轉子導體中有了感應電流后,根據安培力定律,載流導體在磁場中會受到力的作用。
這個力在轉子上形成電磁轉矩,驅使轉子沿著旋轉磁場的方向旋轉。然而,異步電機的轉子轉n速始終小于同步轉速n1,因為如果轉子轉速等于同步轉速,轉子導體與旋轉磁場之間就不存在相對運動,也就不會產生感應電動勢和電流,電磁轉矩也就為零,所以稱為 “異步” 電機 。轉子轉速與同步轉速之間的差值稱為轉差s,轉差與同步轉速的比值稱為轉差率,即s=(n1-n)/n1 。
與異步電機類似,同步電機的定子繞組通入三相交流電后,也會在定子鐵芯中產生一個旋轉磁場,其同步轉速n1=60f/p。
轉子勵磁產生恒定磁場
同步電機的轉子上裝有勵磁繞組,通過直流勵磁電流,使轉子產生一個恒定的磁場(有 N 極和 S 極)。
轉子與旋轉磁場相互作用保持同步旋轉
定子旋轉磁場的磁極與轉子勵磁磁場的磁極之間存在相互吸引力,就像兩塊磁鐵相互吸引一樣。
定子旋轉磁場以同步轉速旋轉時,會帶動轉子以相同的轉速同步旋轉,即轉子轉速n等于同步轉速n1,這就是 “同步” 電機名稱的由來。在運行過程中,只要電源頻率f和電機磁極對數p不變,同步電機的轉速就保持恒定。
西安西瑪交流電機依據電磁感應定律,將交流電能轉換為機械能, 因結構簡單、運行可靠、成本低、效率高等優點,在工業、交通運輸、家用電器、航空航天等領域廣泛應用。
了解更多關于電機的知識,請關注西安西瑪電機有限公司網站。公司專業技術團隊為您免費提供電機的選型、安裝、調試、保養等技術指導服務,盡量避免企業因為電機技術人員的短缺帶來的損失,采取“線上+線下”服務的服務形式,幫助企業解決技術難題。
轉載請說明來自西安泰富西瑪電機(西安西瑪電機集團股份有限公司)官方網站:http://m.lysanyuan.cn/zixun/dianjibaike765.html
交流電機是一種依據電磁感應定律,將交流電能轉換為機械能的裝置 ,在現代工業、交通運輸、家用電器等眾多領域廣泛應用。西安西瑪電機有限公司生產的交流電機主要分為異步電機(感應電機)和同步電機。

圖為交流電機的工作原理示意圖
西安西瑪異步電機工作原理
定子產生旋轉磁場當三相交流電流通入異步電機的定子繞組時,由于三相電流在時間上彼此相差 120° 電角度,且三相定子繞組在空間上也彼此相差 120° 電角度分布。
根據安培定律和電磁感應定律,三相電流會在定子鐵芯中產生一個合成的旋轉磁場。這個磁場的轉速(同步轉速n1)由電源頻率f和電機的磁極對數p決定,計算公式為n1=60f/p 。例如,我國電網頻率f=50HZ,若電機磁極對數p=1,則同步轉速n1=3000r/min;若p=2,則n1=1500r/min 。
轉子導體切割磁感線產生感應電動勢和電流
旋轉磁場以同步轉速旋轉時,轉子導體與旋轉磁場之間存在相對運動,相當于轉子導體切割了磁感線。
根據電磁感應定律,轉子導體中就會產生感應電動勢。由于西瑪電機轉子繞組是閉合的,在感應電動勢的作用下,轉子導體中就會產生感應電流。
轉子載流導體在磁場中受力產生電磁轉矩
轉子導體中有了感應電流后,根據安培力定律,載流導體在磁場中會受到力的作用。
這個力在轉子上形成電磁轉矩,驅使轉子沿著旋轉磁場的方向旋轉。然而,異步電機的轉子轉n速始終小于同步轉速n1,因為如果轉子轉速等于同步轉速,轉子導體與旋轉磁場之間就不存在相對運動,也就不會產生感應電動勢和電流,電磁轉矩也就為零,所以稱為 “異步” 電機 。轉子轉速與同步轉速之間的差值稱為轉差s,轉差與同步轉速的比值稱為轉差率,即s=(n1-n)/n1 。
西安西瑪同步電機工作原理
定子產生旋轉磁場與異步電機類似,同步電機的定子繞組通入三相交流電后,也會在定子鐵芯中產生一個旋轉磁場,其同步轉速n1=60f/p。
轉子勵磁產生恒定磁場
同步電機的轉子上裝有勵磁繞組,通過直流勵磁電流,使轉子產生一個恒定的磁場(有 N 極和 S 極)。
轉子與旋轉磁場相互作用保持同步旋轉
定子旋轉磁場的磁極與轉子勵磁磁場的磁極之間存在相互吸引力,就像兩塊磁鐵相互吸引一樣。
定子旋轉磁場以同步轉速旋轉時,會帶動轉子以相同的轉速同步旋轉,即轉子轉速n等于同步轉速n1,這就是 “同步” 電機名稱的由來。在運行過程中,只要電源頻率f和電機磁極對數p不變,同步電機的轉速就保持恒定。
西安西瑪交流電機依據電磁感應定律,將交流電能轉換為機械能, 因結構簡單、運行可靠、成本低、效率高等優點,在工業、交通運輸、家用電器、航空航天等領域廣泛應用。
了解更多關于電機的知識,請關注西安西瑪電機有限公司網站。公司專業技術團隊為您免費提供電機的選型、安裝、調試、保養等技術指導服務,盡量避免企業因為電機技術人員的短缺帶來的損失,采取“線上+線下”服務的服務形式,幫助企業解決技術難題。
轉載請說明來自西安泰富西瑪電機(西安西瑪電機集團股份有限公司)官方網站:http://m.lysanyuan.cn/zixun/dianjibaike765.html
以上內容由西安泰富西瑪電機(西安西瑪電機集團股份有限公司)網絡編輯部收集整理發布,僅為傳播更多電機行業相關資訊及電機相關知識,僅供網友、用戶、及廣大經銷商參考之用,不代表西安泰富西瑪電機同意或默認以上內容的正確性和有效性。讀者根據本文內容所進行的任何商業行為,西安泰富西瑪電機不承擔任何連帶責任。如果以上內容不實或侵犯了您的知識產權,請及時與我們聯系,西安泰富西瑪電機網絡部將及時予以修正或刪除相關信息。
- 上一篇: 如何選擇適合破碎機的西瑪電機
- 下一篇: 高壓電機的性能受熱腐蝕的影響嗎?
他們還瀏覽了...
- 2025-8-11高壓電機的性能受熱腐蝕的影響嗎?
- 2025-6-24高壓電機線圈端部放電與防暈處理
- 2025-6-17三相異步電機安裝的注意事項
- 2025-6-17三相異步電機的安裝步驟詳解
- 2025-5-28西安西瑪電機630KW高壓電機接線工藝深度解析
- 2025-1-10如何選擇適合破碎機的西瑪電機
- 2024-12-17西安西瑪交流電機選型指南
- 2024-12-10西瑪電機的一級能效與三級能效的簡單對比
- 2024-12-3三相異步電動機轉子電流方向的簡單判斷方法
- 2024-10-28高壓電機直接啟動的關鍵條件分析
行業資訊
高壓電機節能改造在大型工廠能效提升的重大意義
高壓電機的性能受熱腐蝕的影響嗎?
西安西瑪高壓電機檢修都有啥項目呢?
高壓電機線圈端部放電與防暈處理
三相異步電機安裝的注意事項
三相異步電機的安裝步驟詳解
西安西瑪電機630KW高壓電機接線工藝深度解
西安西瑪YKK高壓電機高效節能背后的技術邏輯
高壓電機的性能受熱腐蝕的影響嗎?
西安西瑪高壓電機檢修都有啥項目呢?
高壓電機線圈端部放電與防暈處理
三相異步電機安裝的注意事項
三相異步電機的安裝步驟詳解
西安西瑪電機630KW高壓電機接線工藝深度解
西安西瑪YKK高壓電機高效節能背后的技術邏輯
防爆電機為什么推薦西瑪電機這個品牌?
西安西瑪電機在食品級輸送機的創新與探索
淺談西瑪電機近年的變革之路
深入解析西安泰富西瑪電機的卓越優勢
西安西瑪YE5高效電機深得用戶信賴和認可!
電控學院與西安泰富西瑪電機有限公司舉行產學研
西安西瑪電機與西北工業大學開展“雙進”活動,
西瑪YR355M3-8 YRW355M3-8
西安西瑪電機在食品級輸送機的創新與探索
淺談西瑪電機近年的變革之路
深入解析西安泰富西瑪電機的卓越優勢
西安西瑪YE5高效電機深得用戶信賴和認可!
電控學院與西安泰富西瑪電機有限公司舉行產學研
西安西瑪電機與西北工業大學開展“雙進”活動,
西瑪YR355M3-8 YRW355M3-8
泰富西瑪電機
配套電柜
電機配件
YKK系列高壓三相異步電機西安泰富西瑪YKK系列(H355-1000)高壓三相異步電機可作驅動
Y2系列緊湊型高壓異步電機西安泰富西瑪?Y2系列(H355-560)6KV緊湊型高壓異步電機可
YE3系列高效節能電機西安泰富西瑪電機生產的YE3系列高效節能電機達到了國標二級能效標準,
Z4系列直流電機西安泰富西瑪Z4系列直流電動機比Z2、Z3系列具有更大的優越性,它不
Z2系列小型直流電機西安泰富西瑪Z2系列電機為一般工業用小型直流電機,其電動機適用于恒功
ZTP型鐵路機車動車用直流輔助西安泰富西瑪ZTP系列西瑪電機應能滿足鐵路機車動車用直流輔助電機通用



西安西瑪電機緊跟電機行業的發展趨勢,了解電機市場動態,制定出西瑪電機的發展規劃,穩步前行。
隨著國家節能減排的積極推行,新能源汽車產業快速增長及高效節能電機補貼政策的逐步落實,高效節能電機業將迎來爆發式的增長。
西瑪電機售后維修業務有:軸料加工件、鋼板切割、焊接件、高壓機殼、冷卻器、上下罩、高、低壓交直流電機;國內、外電機的修理、維護和試驗。
質量為本,用戶至上”是我公司一貫宗旨。“誠心、貼心、傾心、西瑪永遠用心”的“三心”服務理念。
西安泰富西瑪電機(西安西瑪電機集團股份有限公司)是國內九大的電機供應商之一,產品包括各種高低壓、交直流、高壓同步電機等。













